一、前言
耐腐(防腐)91看片看淫黄大片采樣複合管(簡稱91看片看淫黄大片采樣管)是一組由耐腐蝕高性能樹脂管與自限溫91看片看淫黄大片帶或恒功率91看片看淫黄大片帶組成內芯,外加保溫層、鋁帶,較後敷以阻燃聚烯烴保護外套複合而成。主要用於監測控製係統采集樣氣(液)用。在石油、化工、電力、冶金、焦化、環保等行業得到廣泛應用。
根據用戶使用地的工藝條件,如溫度、濕度、腐蝕性和氣象條件等情況設計和製造。原始情況屬實,經精心設計,製造過程中嚴把製造質量,施工過程中安裝質量事關重大。務請認真閱讀耐腐91看片看淫黄大片采樣複合管安裝操作說明書。尤其值得提出的是耐腐91看片看淫黄大片采樣複合管中自限溫91看片看淫黄大片帶或恒功率91看片看淫黄大片帶的安裝要求嚴格,使用不慎容易發生故障,影響耐腐91看片看淫黄大片采樣複合管的使用壽命。
二、應當遵循的安裝程序
1、安裝前的準備工作
① 工程設計與工程實際情況進行核對;
② 對自限溫91看片看淫黄大片帶、恒功率91看片看淫黄大片帶、采樣導壓管進行檢測(檢測完畢後要用熱縮性套管進行封閉);
2、安裝
① 對耐腐91看片看淫黄大片采樣複合管施工前複查,無損傷;
② 按照設計圖紙或編製方案進行安裝。
3、安裝結束後
① 對耐腐91看片看淫黄大片采樣複合管中自限溫91看片看淫黄大片帶和恒功率91看片看淫黄大片帶測試絕緣電阻及安全檢查;
② 對采樣管進行氣密性檢查(用幹燥儀表空氣);
③ 對自限溫91看片看淫黄大片帶和恒功率91看片看淫黄大片帶送電檢查動態電流、溫度等。
三、複合管安裝程序中的技術要求
1、安裝前期工作
① 由於複合管中自限溫91看片看淫黄大片帶和恒功率91看片看淫黄大片帶的特性,對於91看片看淫黄大片帶的選用安裝則不詳盡。經過數年的工程實踐,諸多人為因素導致破壞。因此91影视看片APP下载認為:前期工作對設計圖與工程實況要進行核對是非常重要的。
② 工程所在地氣象資料:年極端較低溫度、環境的濕度、風速等。(沿海地區還要考慮鹽霧影響)
③ 設計的配電容量是否滿足自限溫91看片看淫黄大片帶和恒功率91看片看淫黄大片帶的要求,其中自限溫91看片看淫黄大片帶具有PTC特性,決定了一送電起動時有“浪湧電流”現象,通常被設計者、使用者疏忽。在工程中己多次發現,因配電容量開關過小,導致導線發熱、跳閘、不能投運。我公司研製的HY01-B-220/35-100型自動限流器用於自限溫91看片看淫黄大片帶工程基本解決了這個問題。我公司根據工程所在地的情況,建議複合管(管內是自限溫91看片看淫黄大片帶的)長度>15米的管線需配我公司生產的自動限流器,並配漏電保護開關,容量見後附表。
2、複合管安裝技術要求
① 複合管在儲運、安裝時,盡量避免在地麵拖拉或浸入水、油汙中,以免損壞護套和絕緣層。
② 複合管在安裝前後,均應對自限溫91看片看淫黄大片帶和恒功率91看片看淫黄大片帶進行電性能測試,線芯絕緣電阻>20MΩ為宜。在天氣陰潮濕度大的情況下可放寬到>2MΩ,在<2MΩ是要查清原因,方允許送電投運,上下工序要求有詳細交接記錄,以便事故分析時查考。
3、電氣配件的安裝技術要求
① 複合管中91看片看淫黄大片帶與電源線連接:在易燃易爆場所必須采用與91看片看淫黄大片帶配套的防爆接線盒,在剝出91看片看淫黄大片芯線時應十分謹慎,避免多股線芯斷股,使線芯截麵變小,引起過載而燒毀,導線在絞結後用熱縮性套管密封。
② 采樣管線的送電開關請按技術要求的列表來匹配,並配上漏電保護,防止短路和漏電事故。
③ 在安裝采樣管線到位後,特別是尾端部不能裸露在外,長時間日曬雨淋,複合管內保溫層嚴重吸水,會造成91看片看淫黄大片帶老化及脆化、短路引起事故,也降低使用壽命。(尾端部不能用絕緣膠帶繞線包裹,容易脫落、鬆開和老化,較好用Φ50的熱縮性套管收縮解決)。
④ 複合管中自限溫91看片看淫黄大片帶和恒功率91看片看淫黄大片帶的兩條線芯,必須保證電91看片看淫黄大片帶與各防爆電器附件正確可靠地連接,並有足夠的電氣間隙。在帶的末端是嚴禁相碰短接的,一般情況下用熱縮性套管密封,並用終端封閉。在防爆、濕度大的地區則必須采用專用防爆終端。接線後螺母要旋緊牢固可靠,不致被外力拔脫。
⑤ 采樣管線不論長短,91看片看淫黄大片電纜和電源線之間必須用中間接線盒過渡連接,否則會出現電火花、短路和漏電的事故(僅用絕緣膠帶繞線包裹,因為絕緣膠帶在長時間高溫條件下容易老化,融化)。
⑥ 由於並聯式恒功率電91看片看淫黄大片帶由一段段發熱節組合而成,其首尾二端各有幾十厘米的不發熱部分(冷端),安裝電器附件時,應確認冷端的起始點(移去編織層,在外護套上有凹坑,即為發熱接口),將開始發熱部分控製在需要91看片看淫黄大片的部位,冷端長度一般控製在0. 2-0. 3米。自限溫91看片看淫黄大片帶不存在發熱節或冷端,可以任意裁剪使用。接線時,尤其是並聯式恒功率電91看片看淫黄大片帶。必須特別注意線頭部位的電熱絲,要盡可能的剪短,並嵌入內外層護套之間,嚴禁其與編織層或線芯觸碰,以防漏電或短路,發生意外。附件安裝時,必須膠圈、墊圈、緊固件等齊全,方位正確、緊固,以防鬆動或盒內進水。
⑦ 凡穿越線路連接盒及易磨損部位的帶體必須有專用保護措施,防止震動磨擦,一般應放置在橋架內或專用管架上。
⑧ 電源線應采用三芯電纜,其中一芯作為接地與91看片看淫黄大片帶屏蔽層同時接在接地端子,內外接地栓必須牢固可靠(必須要接地,因為屏蔽層感應電壓較大在125V,一定要處理好,否則引起事故)。
⑨ 複合管中自限溫91看片看淫黄大片帶和恒功率91看片看淫黄大片帶電源電壓必須相對穩定。若電源電壓波動過大,容易使複合管中91看片看淫黄大片帶受損或達不到發熱效果,必須采取相應措施,比如加穩壓裝置。
⑩由於各個廠家產品參數不同,我公司電91看片看淫黄大片產品一般不能與其他產品混用,以保正常安全使用。
除上述安裝要求外,電91看片看淫黄大片帶的安裝、調試和運行必須遵循國家頒布的“爆炸危險場所電氣安全規程”和“電氣裝置安裝工程施工及驗收規定”等標準和規範中的有關條文。
4、複合管中電91看片看淫黄大片帶的銜接安裝簡圖
通過幾年來許多工程資料積累,編繪了91看片看淫黄大片帶安裝銜接簡明圖供參考:
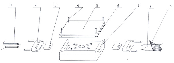
1.電源線;2.接線盒的壓蓋;3.密封膠圈;4.固定螺釘;5.接線盒的頂蓋;6.密封壓片;7.接線盒本體;8.電91看片看淫黄大片帶;9.91看片看淫黄大片帶屏蔽網接地線
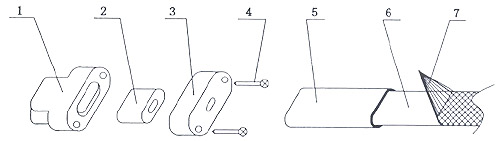
1.終端本體;2.密封膠圈;3.終端壓蓋;4.固定螺釘;5.熱縮性套管(耐溫125℃) ;6.電91看片看淫黄大片帶;7.91看片看淫黄大片帶屏蔽網接地線
四、安裝指標與要求
1、電氣指標
① 額定電壓220VAC,根據不同的91看片看淫黄大片電纜,91看片看淫黄大片溫度可在60℃-160℃範圍;
② 自限溫91看片看淫黄大片帶和恒功率91看片看淫黄大片帶一端接電源220VAC,另一端91看片看淫黄大片帶二根芯線嚴禁短路,采用終端封閉,加用703粘合劑。
2、複合管安裝指標
① 複合管的較小曲率半徑0.5 m;
② 自限溫91看片看淫黄大片帶較大連續使用長度80m(如大於該長度,請與本公司技術部聯係),恒功率91看片看淫黄大片帶較大連續使用長度140m;
③ 較低安裝環境溫度-30℃(如低於該溫度,請與本公司技術部聯係);
④ 較小支撐點距離:垂直方向2m,水平方向2m;
⑤ 91看片看淫黄大片采樣複合管安裝應防止重物墜落砸傷、碰損;
⑥ 91看片看淫黄大片采樣複合管應避開與動力電纜敷設在一起;
附表:
注:恒功率91看片看淫黄大片帶采樣複合管的使用長度按91看片看淫黄大片帶的額定功率計算進行匹配斷路器和電源線,不需要配置限流器。


